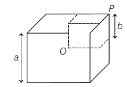
Q. A smaller cube with side (depicted by dashed lines) is excised from a bigger uniform cube with side a as shown below, such that both cubes have a common vertex . Let . If the centre of mass of the remaining solid is at the vertex of smaller cube, then satisfies image

 1533  250 KVPYKVPY 2016System of Particles and Rotational Motion Report Error

Solution:

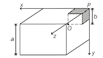
We choose origin at point
image
Now, given centre of mass of remaining solid is at point . Coordinates of as per axes choosen are
i.e. and
Centre of mass of complete large cube lies at its centre.
Coordinates of centre of mass of large cube are

And centre of mass of removed cube of side

Treating removed mass as negative mass, we have
(of remaining part)

where, = mass density.


As , we have