- Tardigrade
- Question
- Physics
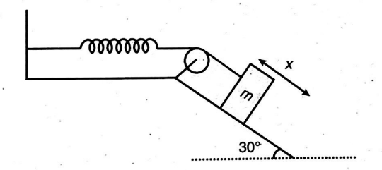
- A non-hookian spring has force F=-k x2, where k is the spring constant and x is the displacement from its unstretched position. For the system shown, a mass m connected to an unstretched spring is initially at rest. If the distance upto which the spring extends before the system momentarily comes to rest is ((p m g/q k))1 / 2, then find (p+q). Assume that all surfaces as well as the pulley are frictionless.
Q.
A non-hookian spring has force , where is the spring constant and is the displacement from its unstretched position. For the system shown, a mass connected to an unstretched spring is initially at rest. If the distance upto which the spring extends before the system momentarily comes to rest is , then find . Assume that all surfaces as well as the pulley are frictionless.

Answer: 5
Solution: