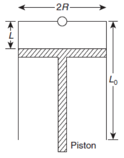
Q. A fixed thermally conducting cylinder has a radius and height . The cylinder is open at its bottom and has a small hole at its top. A piston of mass is held at a distance from the top surface, as shown in the figure. The atmospheric pressure is .
image
The piston is taken completely out of the cylinder. The hole at the top is sealed. A water tank is brought below the cylinder and put in a position so that the water surface in the tank is at the same level as the top of the cylinder as shown in the figure. The density of the water is . In equilibrium, the height of the water column in the cylinder satisfies

 2367  284 JEE AdvancedJEE Advanced 2007 Report Error

Solution:

Applying Boyle's law, we have

That is,
where
From Eq. (1), we get
Therefore,